TH Marine
Pl-65-10Hs High Speed W/O Gauge by TH Marine (61302)
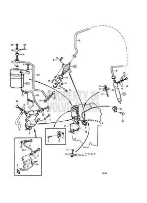
Volvo Penta Exploded view / schematic Cylinder Head: AQD2B
Shopping Cart:
Free Shipping!
On All Orders Over $99*
If you are already registered, please log in.
Create your account and enjoy a new shopping experience.
Create A New AccountShop by Categories
back Maintenance
back Automotive
back Trailering
back Boat Outfitting
back Cartography
back Hunting & Fishing
back Electrical
back Alligator Clips
back Boat Wiring
back Inboard Alternators
back Lights & Light Bulbs
back Marine Alternators
back Marine Solenoids
back Marine Starters
back Outboard Rectifiers
back Outboard Starters
back Solar and Wind Power
back Wire Strippers
back Marine Hardware
Marine Navigation & Instruments
back Outdoor
back Ram Mount Store
back Sale Items
back Maintenance & Paint
back Boat Anodes
back Shop Supplies
back Tools and Equipment
back Elevator Bolts
back Marine Fasteners
back Marine Putty
back Pad Holders
back Shop Towels
back Welding rods
back Marine Gear Oil
back Marine Hose Clamps
back Shop Manual Displays
back Steering & Controls
Buy our Volvo Penta Gasket now! Even the tiniest components of an engine help it to operate appropriately. We highly recommend this product because of its strength and durability. Gaskets work as a seal, where two separate engine parts meet. The gaskets are commonly used as a component of a sealing system.
Key Features:
The main functions of the gasket are to create a seal between two other surfaces.
The metal gaskets can naturally resist pressure, extreme temperature, and chemical exposure.
The typical applications are for heat exchangers, condensers, compressors, valves, and pumps.
Metal gaskets are now popularly used for medium and high-pressure applications.
Applying the appropriate type of gasket guarantees that you have a durable seal.
A gasket is a deformable material generally used to build a static seal and sustains that seal under several operating conditions in a mechanical assembly.
Specifications:
SKU: 859149
Diagram Reference Number:10
We can ship to virtually any address in the US. Note that there are restrictions on some products, and some products cannot be shipped to international destinations.
When you place an order, we will estimate shipping and delivery dates for you based on the availability of your items and the shipping options you choose. Depending on the shipping provider you choose, shipping date estimates may appear on the shipping quotes page.
Please also note that the shipping rates for many items we sell are weight-based. The weight of any such item can be found on its detail page. To reflect the policies of the shipping companies we use, all weights will be rounded up to the next full pound.
You may return most new, unopened items within 30 days of delivery for a full refund. We'll also pay the return shipping costs if the return is a result of our error (you received an incorrect or defective item, etc.)
You should expect to receive your refund within four weeks of giving your package to the return shipper, however, in many cases you will receive a refund more quickly. This time period includes the transit time for us to receive your return from the shipper (5 to 10 business days), the time it takes us to process your return once we receive it (3 to 5 business days), and the time it takes your bank to process our refund request (5 to 10 business days).
If you need to return an item, please Contact Us with your order number and details about the product you would like to return. We will respond quickly with instructions for how to return items from your order.
TH Marine
Volvo Penta Exploded view / schematic Cylinder Head: AQD2B
TH Marine
The PL-65HS will raise V-6 300 hp and smaller outboard motors in approximately 8 seconds which is twice as fast as the regular PL-65. Ideal for those who want a jack plate for highspeed positioning...
TH Marine
The PL-65HS Hydraulic POWER-LIFT HISPEED NOGAGE (30-65302) raises V-6 300 hp and smaller outboard motors in about 8 seconds, which is twice as fast as the PL-65. People who require a jack plate to...
TH Marine
CMCs most popular model, the PL-65 is rated for V-6 and smaller motors and provides 5" of vertical travel. PL-65SS is designed for V8 motors or racing applications.
TH Marine
The PL-65-10 is rated for V-6 and smaller motors and provides 5" of vertical travel.